隨著夏季的到來,溫度、靜電、干燥等都容易引發火災,再加上軟包行業使用的膠水、油墨、溶劑、壓輥等都是易燃物質,所以對安全意識必須注重,對突發的意外事故必須及時有效地控制。通過對設備改裝自動滅火裝置,可以增加安全性,減少損失。下面提供兩種設備改裝圖,適合印刷廠家和設備廠家改裝或自裝。
??????? 
圖1
圖1所示的自動滅火裝置,需要在壓輥上端焊接一個滅火管,安裝自動溫控探頭和自動閥門開關,當膠水或油墨燃起時,溫控探頭探測到溫度上升,將自動閥門開啟,進行自動撲滅,從而為人員增加了滅火時間。在人員不注意的情況下也可以有效控制火勢。圖中第⑦為滅火箱,內裝置干粉,一旦遇有明火,即可釋放出來滅火,下面管口為自動閥門,需設備廠設計安裝。
一般膠水或油墨在使用過程中,由于溫度高、靜電、干燥等引起的自燃現象,包括膠輥一旦燃起都是很難撲滅的,按照圖1對設備進行改造可以及時有效地滅火,雖未必能全部將火撲滅,但可以為人員增加有效的滅火時間,控制火勢蔓延。
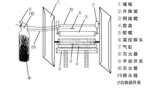
??????? 
圖2
圖2所示的自動滅火裝置采用滅火器在設備外的裝置法,通過管道轉接到膠輥或者印刷色組膠輥上方,在滅火管下方設置一個探頭,原理與圖1相似。圖2既可人工滅火也可自動滅火,圖中第⑨為手動開關,拔取插銷即可滅火。圖中第(12)為自動開關鏈接探頭,由探頭所探溫度控制開關。